ni.com is currently experiencing unexpected issues.

Some services may be unavailable at this time.

USRP Software Radio

cancel
Showing results for 
Search instead for 
Did you mean: 

How to use two antennas receive signal simultaneously

Hi everyone,

 

Currently, I am doing some experiments on niUSRP 2920. My work needs the USRP receive two signals with different carrier frequency. However, the problem I met is that when running two RX Vi, Labview would report the error "niUSRP Fetch Rx Data (CDB WDT).vi<ERR>The specified session handle is invalid or does not correspond to an active session.". Also, I tried to set the channel list in niUSRP configure signal.vi and niUSRP Fetch Rx Data (CDB WDT).vi, but it still does not work. For specific, when I set the channel list to be "1", Labview would be unable to recognize this session.

 

Is there someone have met this kind of problem. Many thanks for your help.

 

Sincerely,

Wenjun Xu

0 Kudos
Message 1 of 12
(14,266 Views)
Hello -

Each USRP has 1 transmit and one receive signal chain. If the 2 signals are close together you can get them both at the same time. If they are far apart you will need 2 USRP and you can use the MIMO cable to sync the time and 10MHz reference.
0 Kudos
Message 2 of 12
(14,262 Views)

Dear Eric,

 

Thank you for your quick reply. But I am a little bit of confused on the meaning of '2 signals are close together'. Does it mean that the two signals are similar in frequency?

 

Moreover, we are trying to configure two antennas (RX1 and RX2) so that they could receive signals on different frequency simultaneously. How could we make it? Thanks!

 

Best Regards,

Wenjun

0 Kudos
Message 3 of 12
(14,253 Views)

 

 

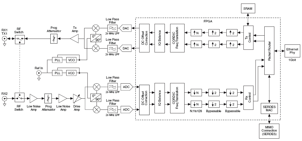
While there are two input ports, they share the same receive chain through a switch.

 

2920 block diagram - davanced

The reason for two RX ports:

1. TDMA - (time division) typically one antenna, transmit and receive ad different times
2. FDD - (frequency division) typically 2 antennas, transmitting and receiving at the same time on different frequencies

The USRP supports both configurations with a single TX chain and a single RX chain.


The device does have up to 20MHz bandwidth, so if the two signals total span is less than 20 MHz you can acquire them both at once and then process the two signals.

0 Kudos
Message 4 of 12
(14,234 Views)

 


@ErikL wrote:

 

 

While there are two input ports, they share the same receive chain through a switch.

 

2920 block diagram - davanced

The reason for two RX ports:

1. TDMA - (time division) typically one antenna, transmit and receive ad different times
2. FDD - (frequency division) typically 2 antennas, transmitting and receiving at the same time on different frequencies

The USRP supports both configurations with a single TX chain and a single RX chain.


The device does have up to 20MHz bandwidth, so if the two signals total span is less than 20 MHz you can acquire them both at once and then process the two s

 

0 Kudos
Message 5 of 12
(12,538 Views)

Hello

I want to know something. If I am transmitting from two usrps, can I  receive both signals on
single antenna of some other 3rd usrp. what is technique or algorithem?

0 Kudos
Message 6 of 12
(12,532 Views)

hello

I want to know something. If I am transmitting from two usrps, can I  receive both signals on
single antenna of some other 3rd usrp. what is technique or algorithem?

0 Kudos
Message 7 of 12
(12,520 Views)
Hi, ErikL,I want to separate two AM demodulated signals ,that their carrier frequency span are 20kHz, in a single 2930 RX chain. I tried to filter them befor demodulated the signals, but it said their signal format are mismatch. Could you please give me an example about this ? Thanks in advance.
0 Kudos
Message 8 of 12
(12,499 Views)

Actually, whether you can use one antenna to receive the signals depends on the operating frequency of the antenna.

 

If you want to process signal simultaneously, you should confirm the operating frequency of USRP.

 

For example, USRP2920 can work from 50MHz to 2.2GHz, but it can process signal within 20MHz simultaneously.

 

Namely, you can receive and process two different signal with the same antenna simultaneously, if the delta frequency of two signal is within 20MHz.

0 Kudos
Message 9 of 12
(12,472 Views)
Danan -

The system you are describing sounds possible. Tx 1: centered at 400 MHz, TX 2: centered at 400.020Mhz. Perhaps the bandwidth of each is 10kHz. The singe RX receives both simultaneously. .... Decoding both signals is very possible, but requires a practical understanding of the hardware and mathematical understanding of the RX signals so that you can recover them. ... here are the challenges you will encounter: transmitting AM needs to be done away from thr LO center frequency. This can be dine with thr LO property node and will keep the LO and dc offset fiters from messing with the AM signal. This affects RX as well. On the RX side you need to isolate the two signals as baseband signals. This requires channelizing them which in its simplest form means splitting the signal into two, and mixing each of the AM signals to DC and filtering. Not hard but understanding the math is important. I don't think we have an example of this in the code sharing community but it would be great if someone would post one.
0 Kudos
Message 10 of 12
(12,459 Views)